Additional Information on
Nikkor 20mm f/2.8 ultra-wideangle lense - Prototype
Reported by Peter Braczko inhis book "Nikon Hand Book"

 
File size: 20K HTML

Peter Braczko.jpg
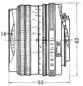
"Nikon Hand Book" by Peter Braczko (Publisher: Fountain Press) is a very good reference book on Nikon cameras and Nikkor lenses. If you like related topic, this is my personal recommendation for a good, high quality content reference book. He managed to get a press kit distributed during Photokina, 1976 where a picture of a prototype of the Non-Ai Nikkor 20mm f/2.8 lens was enclosed.

20mmproto2.gif 20mmproto.jpg 20mmproto1.gif

Nikon stated in the press kit that both CRC and NIC was incorporated in this extremely compact 20mm f/2.8 ultra-wideangle lens that actually has small 52mm fllter attachment size and its was far smaller than the last version of the MF Nikkor Ai-S 20mm f/2.8 which has a 62mm filter attachment size ! Further, it has a very complex 14 elements in 9 groupd optical construction and close focus to a minimum distance at 1 foot. It weighs 245g. For some unknown reasons, the proposed lens was never being marketed .

RELATIVE:- Autofocus Nikkor lenses / AF Nikkor 20mm f/2.8s / AF Nikkor 20mm f/2.8D ultrawideangle lenses

| Message Board | for your Nikkor Optics in a shared environment
| Message Board | Specifically for Dispose or Looking for new/used Nikon/Nikkor photographic equipment

weblibrary.gif   Nippon Kogaku Rangefinder Resources | Nikon F | Nikon F2 | Nikon F3 | Nikon F4 | Nikon F5 | Nikon F6 | Nikkormat / Nikomat | Nikon FM Series | Nikon FE/ FA | Nikon EM/FG/FG20 | Nikon Digital SLRs | Nikon - Other models

Nikon MF RF-Nikkor lenses for Rangefinder cameras:- Main Index Page
Nikon Auto Focus Nikkor lenses:- Main Index Page
Nikon Manual Focus Nikkor lenses:-
Fisheye-Nikkor Lenses - Circular | Full Frame | Ultrawides Lenses - 13mm15mm18mm20mm | Wideangle Lenses - 24mm28mm35mm | Standard Lenses - 45mm 50mm 58mm | Telephoto Lenses - 85mm105mm135mm180mm & 200mm | Super-Telephoto Lenses - 300mm 400mm 500mm 600mm 800mm 1200mm |

Nikkor Link.jpg   Special Application lenses:
Micro-Nikkor Lenses - 50mm~55mm -60mm 85mm -105mm 200mm Micro-Zoom 70-180mm
Perspective Control (PC) - 28mm 35mm PC-Micro 85mm
Dedicated Lenses for Nikon F3AF: AF 80mm f/2.8 | AF 200mm f/3.5 EDIF
Depth of Field Control (DC): 105mm 135mm
Medical Nikkor: 120mm 200mm
Reflex-Nikkor Lenses - 500mm 1000mm 2000mm
Others: Noct Nikkor | OP-Nikkor | UV Nikkor 55mm 105mm | Focusing Units | Bellows-Nikkor 105mm 135mm
Nikon Series E Lenses: 28mm35mm50mm100mm135mm | E-Series Zoom lenses: 36~72mm75~150mm70~210mm


MF Zoom-Nikkor Lenses: 25~50mm | 28~45mm | 28~50mm | 28~85mm | 35~70mm | 36~72mm E | 35~85mm | 35~105mm | 35~135mm | 35~200mm | 43~86mm | 50~135mm | 50~300mm | 70~210mm E | 75~150mm E | 80~200mm | 85~250mm | 100~300mm | 180~600mm | 200~400mm | 200~600mm | 360~1200mm | 1200~1700mm

Tele-Converters: TC-1 | TC-2 | TC-200 | TC-201 | TC-300 | TC-301 | TC-14 | TC-14A | TC-14B | TC-14C | TC-14E | TC-16 | TC-16A | TC-20E

Recommended links to understand more technical details related to the Nikkor F-mount and production Serial Number:
http://rick_oleson.tripod.com/index-153.html by: my friend, Rick Oleson
http://www.zi.ku.dk/personal/lhhansen/photo/fmount.htm by: Hansen, Lars Holst
http://www.mir.com.my/rb/photography/hardwares/nikonfmount/lens2.htm
http://www.photosynthesis.co.nz/nikon/serialno.html

Recommended Reading Reference on Nikon cameras and Nikkor lenses | about this photographic web site

Search.gif | Back | Main Index Page of Nikkor Resources | Back | Main Index Page of Pictorial History of Nikon SLRs

MIR Logo.gif   Home - Photography in Malaysia

leofoo.Gif Co-developed with my web buddy, Rick Oleson® & LARs.Gif Denmark, Creator of the Nikon Repair Group Mailing-List; A contributing effort to Michael Liu's Classic Nikon SLRs and Nikkor optic site.

Credit: MCLau®, who has helped to rewrite some of the content appeared this site. Chuck Hester® who has been helping me all along with the development of all these Nikon websites; Lars Holst Hansen, 'Hawkeye' who shares the same passion I have; Ms Rissa, Sales manager from Nikon Corporation Malaysia for granting permission to use some of the official content; Ted Wengelaar, Holland who has helped to provide many useful input relating to older Nikkor lenses; Some of the references on production serial numbers used in this site were extracted from Roland Vink's website; Hiura Shinsaku from Nikomat Club Japan. Lastly, to all the good people who has contributed their own expeience, resources or kind enough granted permission to use their images of their respective optic in this site. It is also a site to remember a long lost friend on the Net. Note:certain content and images appeared in this site were either scanned from official marketing leaflets & brochures published by Nikon and/or contribution from surfers who claimed originality of their work for educational purposes. The creator of the site will not be responsible for may discrepancies arise from such dispute except rectifying them after verification. "Nikon", "Nikkormat", "Nippon Kokagu KK" & "Nikkor" are registered tradename of Nikon Corporation Inc., Japan. Site made with an Apple IMac.