Additional Information on
Dedicated lenses:- AF 80mm f/2.8 & AF 200mm f/3.5 ED-IF for Nikon F3AF SLR camera

 
File size: 42K HTML Loading ......

During early eighties, many camera manufacturers were experimenting their prototype autofocus SLR/lenses. The Nikon F3AF 35mm SLR camera was launched by Nikon amid rising pressure to create an AF SLR. Unlike other players like Pentax, Olympus and Canon which preferred to adopted a cautious approach by introducing series of some interesting experimental models to test the market reaction, Nikon has, surprised everyone, chosen their top of the line SLR model, Nikon F3 as the template to showcase their AF technology.

f3afforntMClau.jpg
That special Nikon F3 camera debuted in 1983, was called Nikon F3AF - it was also Nikon first Autofocus SLR camera. Nikon has also designed two companion AF telephoto lenses. The two telephoto lenses, an AF Nikkor 80mm f/2.8 & AF Nikkor 200mm f/3.5 ED IF are specifically designed just for this special Nikon F3AF to operate in both autofocus/manual mode. Both of these telephoto lenses are Nikkor Ai-S in nature and thus, they are the only two standard production Nikkor autofocus lenses that are fully compatible with even older non-AI Nikon SLR bodies.

PLEASE REFERRED TO NIKON F3AF section for MORE images

Credit
: All images of Nikon F3AF and lenses appeared in this site courtesy of Edward Ngoh and Mr. MCLau.

f3af-finder.gif
UPDATE: " ... From: Kellysinma@aol.com

Hello! I just linked into your information website on Nikon cameras, specifically the F3AF page, and I noticed an error in the information you present!!! While it's true the two AF lenses were designed specifically for the F3AF, it is NOT true that they will work in autofocus mode exclusively on the F3AF. They also work just fine on the 2020 and the F4 in full autofocus mode. This is indicated in the manuals for both of those cameras, though it doesn't jump right out at you. I have an F3AF, both lenses, and the TC-16 converter. The camera and converter stay in my cabinet, but I use both lenses on a 2020 and occasionally on my F4. The 80/2.8 on a 2020 transforms the camera. With the camera set in MANUAL focus mode, the lens focuses smoothly and quietly... Same goes for the 200/3.5.

This compatibility makes sense. Nikon are freaks about forward compatibility of their lenses, so having their first pro AF SLR lenses work on the next two followon bodies makes sense. The only question I can't get answered- the F4 manual alludes to the fact that the lenses can be used only on
Nikon F4, NOT on F4S or Nikon F4E. My guess is that the battery voltage must be transmitted directly to the lens, unregulated, and that the higher voltage of the larger battery packs could damage the lens??? It's only a guess, however. Anyway, I just thought I'd mention it. I've seen a number of these lenses sold on eBay and elsewhere, where the seller also stated that they could only be used in manual mode on any camera other than the F3AF. That narrows the market enormously! Thanks for a great website!! I could spend hours poking around the various links. And have a great holiday season!! - Jim Kelly - ..."

AF80mmf451971.jpg (11k)
Supplement: * In fact, as early as 1971, Nikon did showcased a prototype AF lense in 80mm focal length with an maximum aperture at f/4.5. Along with the AF-Nikkor lense featured here, both lenses are probably the only 80mm Nikkor lenses that have ever been produced by Nikon and/or surfaced thus far. Other Manual Nikkor lenses usually have 85mm focal length. Credit: The one and only picture I can find on this early AF Nikkor lense. Image downloaded from Nikon Japan website. The original can be accessed by clicking here. Update:- Another recommended article by Marco Cavina corso Mazzini 149  48018  Faenza (RA) ITALY who prepared some of the optical analysis of the rare Canon FD 24mm f/1.2 ASPHERICAL. It was written in Italian but you can make use of Google utility to translate: http://google

UPDATE:- Basic Specification for this Prototype AF Nikkor 80mm f/4.5: Focal Length 80mm; Maximum Aperure 1:4.5; Optical Contruction: 15 elements in 9 groups; Picture angl: approx. 30° 02'; autofocusing range: 1m to OO; format : 36mm x 24mm; aperure range: f4.5~f/32; Power source: 2 power cells housed in the AF module at the base section; Dimension: 285mm x 90mm x 145mm; weight: 2.7kg (inclusive of battery. For working autofocus principle/mechanism of this AF console: CLICK for Illustration Gragh/picture.

Seperator line

Both of the AF lenses are also capable of operating with other Nikon SLR manually. Despite the entire F3AF project was generally regarded as not a successful one commercially, but with the help of a extremely positive lens review published by a popular photographic magazine, it has helped the two lenses established a fine reputation among other top performing Nikkor optic. One interesting technical aspect of these two AF lenses is, both of the lenses have a micro-motors incorporating inside the lens where they draw power from the camera body to autofocus.

F3ADlensCutaway.gif
Sound familiar ? Yeap. That is how exactly how the much hyped AF-i and AF-S Nikkor lenses and even the Canon's EF lenses work in theory ! Sometimes, I can never understand how decision was made in board room but the rest are history. So, the two AF Nikkor lenses faced many incompatibilities with the subsequent Nikon SLR models that streaming out from design board and production line over the years that followed.

A cutaway illustration of the AF 200mm ED lense.

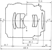
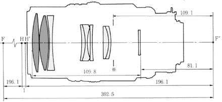
Anyway, on a technical note, the AF Nikkor 80mm f/2.8 lens (introduced in 04.1983) which has an picture angle of view of 30° 20'; a 6 elements in 4 group optical construction; stopped down to a minimum aperture of f/32, it enables close focus down to 1m and Nikon engineers managed to retain a 52mm filer attachment size for the lens; it uses a HS-7 lens hood, with a physical dimension of 69mm x 70mm x 78mm and weighs 385g. Optically, I don't intend to challenge the reviewers who conducted such tests comprehensively and published such positive reports because this lens is, in fact incredibly sharp which deserves such recommendation. Overall, the lens is solidly built and the quality feel is all over, strangely, the subsequent Nikkor AF lenses that followed didn't have that flavors

F3AFBigupward.jpg

80mmF3AF.jpg

The only apparent weakness if you intend to get this lens for your normal photography is, it weighs more than the manual focus f/2.0 lens and next, the slower lens speed of f/2.8 which is a full stop slower than the comparing f/2.0 lens. Next, the manual focusing ring is little narrow for a positive grip but the lens remains with a standard 52mm attachment size which makes it highly adaptive to many standard accessories.

amodeselector.jpg
An rather oversized A/M switch on both the lenses are conveniently position and since there is no aperture lock, you need to remind yourself that this should be turned to "A" for autofocusing. Just under the switch is the distance and focusing window with a colorful and well illustrated depth of field scale. I wish to compliment those who has both the Nikkor designed with the DOF incorporated in such a well manner. These lenses remains as the BEST illustrated DOF AF-Nikkor lenses but sadly, they are also the last two that Nikon gave us such a considerate feature. The Infra-red index is also red-dot for easy reference.

Someone has asked me once, why both the AF-Nikkor lenses for F3AF are telephoto ? Well, probably that can be explained because it is always more difficult to get precise and delicate focusing in telephoto lenses than wideangle lenses which has greater depth of field. The rotation in focusing is also longer and demand higher efficiency in autofocusing mechanism and telephoto is always better choice in showcasing any AF technology.

In the longer AF-telephoto lens of 200mm f/3.5 EDIF lens, there is a focus limiter which is suggested to use when estimate focusing zone is desirable. This is not found on the shorter 80mm lens.

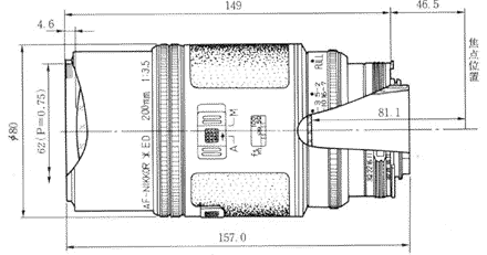
The AF 200mm f/3.5 ED-IF lens is quite heavy and long, weighing 868g and measures 157mm in length (80mm x 149mm x 157mm). It has a narrower angle of view at 12
° and a filter attachment size of 62mm. Two pieces of ED (extra-low dispersion) glass elements are used on the first and second element in a 8 elements in 6 group optical construction which also features an IF (internal focus) design for smoother AF operation; It can only close focus to 2m and stopped down to f/32 for extra depth of field control. The lens also incorporated with a "dust" filter which is not part of its optical design but rather, provides penetration of dust and moisture.
Nikon F3AF with AF Nikkor 80mm f/2.8S
Credit: Image courtesy of IGOR Camera Exchange, UK, who also operates a popular EBAY Store. Igor camera exchangecan also be reached by mail to: igorcamera (AT) adelphia.net or call at (440) 248-8604. Image Copyright © 2008. All rights reserved. Please respect the visual property of the contributing photographer.

AF 200mm f3.5EDIF.jpg200f35upview2.jpg

Lens before and after extension.

Nikon F3AF with AF Nikkor 200mm f/3.5S ED
NOTE:- The two AF-Nikkor lenses draws power as well as other information such as data phase detection from the camera body to perform autofocusing and have an entirely different configurations with the current modern AF lenses and thus, it cannot be used with other Nikon AF SLR camera models but the lenses have better compatibility with other manual focus Nikon bodies.

Credit: Image courtesy of IGOR Camera Exchange, UK, who also operates a popular EBAY Store. Igor camera exchangecan also be reached by mail to: igorcamera (AT) adelphia.net or call at (440) 248-8604. Image Copyright © 2008. All rights reserved. Please respect the visual property of the contributing photographer.
I have heard many good things about the longer AF 200mm f/3.5 EDIF which was introduced a few months ahead than the shorter 80mm AF counterpart (01.1983). Up to 1986 where Nikon introduce their first generation AF lenses, the 200mm focal length has a popular, compact Nikkor 200 f/4.0s and an exotic but damn expensive, but very fast speed Nikkor 200mm f/2.0s EDIF telephoto lens to choose from; other than the Nikkor 180mm f/2.8s ED, actually this is another alternative if you are looking for a moderately prized ED lens, with even an extra bonus of Internal focus (IF) feature which is available only in the Micro-Nikkor 200mm f/4.0s at that specific focal length. IF you are complaining about the limitations and "reach" of these two AF Nikkor lenses for your F3AF camera, there is another alternative. Nikon has also designed a dedicated AF-teleconverter TC-16s to supplement the two lenses.

Viewfinder.jpg

Nikon F3AF setup.jpg

tc16front.jpg

The converter, as the name suggested, will multiply the reach of the focal by a factor of 1.6X to make the 80mm lens at 128mm and 320mm for the 200mm AF lens respectively. Credit: All images of Nikon F3AF and lenses appeared in this site courtesy of Edward Ngoh and Mr. MCLau. Picture at far left is a newer TC-16A which served as an interim measure for Nikon owners to convert the manual focus Nikkor lenses* into a autofocus lens. The picture at right is the dedicated AF Teleconverter specifically designed for the F3AF camera.

MORE info and Instruction Manual on the newer Nikon AF TC-16S Teleconverter + Instruction Manual for Nikon F3AF camera

Seperator line

Rear lens mount of Nikon F3 AF lenses with electrical contacts
Although it has some setbacks such as drop in lens speed and add extra weight to the basic lens, but this has certainly greatly enhance the functionality of the two lenses. There are actually two types of AF Teleconverter TC-16, a subsequent AF TC-16A was also introduced, the shorter 80mm f/2.8 can be used on both of the converters but I am not so sure how about the AF 200mm f/3.5 EDIF lens whether it has any incompatibility with the newer TC-16A. The Teleconverter TC-16 works on a unique theory of adding a AF operation inside the converter by moving the lens elements to focus the image on the film plane. This has, extended the scope of use of the Nikon F3AF as it allows many non-AF Nikkor lenses to work in autofocus mode with the camera too. There are limitation with this Converter, firstly, it will magnify the focal length of the prime lens in use by a factor of 1.6X; next, you will lose 1-1/3 stop of lens speed and it has limited focusing zones cause by the restricted movement of lens elements inside the Converter.
Nikon F3AF specific AF 80mm f/2.8S
The problem with me is, I have skipped a generation of the early autofocus stage and that is why I cannot simply write something that I am not so sure about especially at the area of various levels of backward compatibility with older lenses and/or camera models. That stage of the early autofocus era was also damn confusing and I adopted a wait-and-see attitude during that time until major manufacturers found and settled with their own technological direction.

I am sure most of you would have a better understanding of the changes than me and I leave that to your intelligence to explain further in public forum such as the
Message Board column for lenses in this site.

*
IMPORTANT: There are physical constraints, please check with Nikon or read the manual of the TC-16A in this site or compatibility issues. The creator of the site is not responsible for any of its content which might lead to damage of your hardware.
Credit: Image courtesy of IGOR Camera Exchange, UK, who also operates a popular EBAY Store. Igor camera exchangecan also be reached by mail to: igorcamera (AT) adelphia.net or call at (440) 248-8604. Image Copyright © 2008. All rights reserved. Please respect the visual property of the contributing photographer.


Seperator line

Technical Specifications for AF Nikkor 80mm f2.8s / AF Nikkor 200mm f/3.5S IF-ED:

Lens type: Autofocus with Manual Focusing for Nikon F3AF camera, Built-in integrated micro motor
Focal Length: 80mm
Angle of View: 30° 20'
Maximum/Minimum Aperture: f/2.8 to f/22
Closest Focusing Distance: 1 metre (3.3 ft)
Optical Construction: 6 elements in 4 groups, rear group driven system
Filter attachment size: 52mm (P=0.75)
Usable Lens Hood: HS-7 or others mentioned below
Dimensions: 69mm x 70mm (78mm overall); Weight: 390g
Others: A/M Switch provided; Power source (when used with Nikon F3AF, Nikon F501 or Nikon F4, draws power from camera.
Accessories: LF-1 cap, Case 35A. 62mm front cap. Optional: HS-7/HR-5 lens hood; HR-5 may be possible. CL-15S, CL-32S lens case usable
 
Lens type: Autofocus with Manual Focusing for Nikon F3AF camera, Built-in integrated micro motor
Focal Length: 200mm;
Angle of View
: 12° 20'
Maximum/Minimum Aperture: f/3.5 to f/32
Closest Focusing Distance: 2 metre (6.6 ft)
Optical Construction: 8 elements in 6 groups, 2 x ED glass elements, 2 internal groups using Internal focusing mechanism, with Dust Cover;
Filter attachment size: 62mm (P=0.75)
Usable Lens Hood: Built-in retractable type
Weight: 868g; Dimensions: 80mm x 149mm x 157mm
Others: A/M Switch provided; Power source (when used with Nikon F3AF, Nikon F501, F801 or
Nikon F4 (or other compatible Nikon), draws power from camera.
Accessories
: LF-1 cap, Case 35A. 62mm front cap.

NOTE: Production Serial Numbers believed to have started from 182011 for the AF Nikkor 80mm f/2.8 lens & 182501 for the AF Nikkor 200mm f/3.5 ED-IF


Physical mesurement and dimension Contruction for Nikon AF Nikkor 80mm f/2.8S Optical Contruction for Nikon AF Nikkor 80mm f/2.8S
Physical dimension and optical structure for Nikon AF Nikkor 80mm f/2.8S Below: the same for Nikon AF Nikkor 200mm f/3.5 ED-IF

Physical mesurement and dimension Contruction for Nikon AF Nikkor200mm f/3.5S ED-IF telephoto lens Optical Contruction for Nikon AF Nikkor 200mm f/3.5S ED-IF

Seperator line

Manual Focus Nikkor Lenses at 85mm focal length : | Early non-AI versions | pre-AI versions | Late 1970 | Early 1980 - present: 85mm f/1.4 ; 85mm f/2.0 | AF-Nikkor 80mm f/2.8 for F3AF| AF-TC16S |

F3AFshadow.jpg

Back |
to Main Index Page of MF Nikkor lenses at 85mm focal length

Relative: Other Nikkor lenses at 200mm focal length: Nikkor 200mm f/4.0s; Nikkor 200mm f/4.0; Nikkor-Q 200mm f/4.0 Auto: Nikkor 200mm f/2.0s ED IF

200mm 200mm F2.0 EDIF


| Back to MAIN INDEX PAGE | of 180mm/200mm Nikkor lenses

Main Index Page - Autofocus Nikkor lenses

| Message Board | for your Nikkor Optics in a shared environment
| Message Board | Specifically for Dispose or Looking for new/used Nikon/Nikkor photographic equipment

weblibrary.gif   Nippon Kogaku Rangefinder Resources | Nikon F | Nikon F2 | Nikon F3 | Nikon F4 | Nikon F5 | Nikon F6 | Nikkormat / Nikomat | Nikon FM Series | Nikon FE/ FA | Nikon EM/FG/FG20 | Nikon Digital SLRs | Nikon - Other models

Nikon MF RF-Nikkor lenses for Rangefinder cameras:- Main Index Page
Nikon Auto Focus Nikkor lenses:- Main Index Page
Nikon Manual Focus Nikkor lenses:-
Fisheye-Nikkor Lenses - Circular | Full Frame | Ultrawides Lenses - 13mm15mm18mm20mm | Wideangle Lenses - 24mm28mm35mm | Standard Lenses - 45mm 50mm 58mm | Telephoto Lenses - 85mm105mm135mm180mm & 200mm | Super-Telephoto Lenses - 300mm 400mm 500mm 600mm 800mm 1200mm |

Nikkor Link.jpg   Special Application lenses:
Micro-Nikkor Lenses - 50mm~55mm -60mm 85mm -105mm 200mm Micro-Zoom 70-180mm
Perspective Control (PC) - 28mm 35mm PC-Micro 85mm
Dedicated Lenses for Nikon F3AF: AF 80mm f/2.8 | AF 200mm f/3.5 EDIF
Depth of Field Control (DC): 105mm 135mm
Medical Nikkor: 120mm 200mm
Reflex-Nikkor Lenses - 500mm 1000mm 2000mm
Others: Noct Nikkor | OP-Nikkor | UV Nikkor 55mm 105mm | Focusing Units | Bellows-Nikkor 105mm 135mm
Nikon Series E Lenses: 28mm35mm50mm100mm135mm | E-Series Zoom lenses: 36~72mm75~150mm70~210mm


MF Zoom-Nikkor Lenses: 25~50mm | 28~45mm | 28~50mm | 28~85mm | 35~70mm | 36~72mm E | 35~85mm | 35~105mm | 35~135mm | 35~200mm | 43~86mm | 50~135mm | 50~300mm | 70~210mm E | 75~150mm E | 80~200mm | 85~250mm | 100~300mm | 180~600mm | 200~400mm | 200~600mm | 360~1200mm | 1200~1700mm

Tele-Converters: TC-1 | TC-2 | TC-200 | TC-201 | TC-300 | TC-301 | TC-14 | TC-14A | TC-14B | TC-14C | TC-14E | TC-16 | TC-16A | TC-20E

Recommended links to understand more technical details related to the Nikkor F-mount and production Serial Number:
http://rick_oleson.tripod.com/index-153.html by: my friend, Rick Oleson
http://www.zi.ku.dk/personal/lhhansen/photo/fmount.htm by: Hansen, Lars Holst
http://www.mir.com.my/rb/photography/hardwares/nikonfmount/lens2.htm
http://www.photosynthesis.co.nz/nikon/serialno.html

Recommended Reading Reference on Nikon cameras and Nikkor lenses | about this photographic web site

Search.gif | Back | Main Index Page of Nikkor Resources | Back | Main Index Page of Pictorial History of Nikon SLRs

MIR Logo.gif   Home - Photography in Malaysia

leofoo.Gif Co-developed with my web buddy, Rick Oleson® & LARs.Gif Denmark, Creator of the Nikon Repair Group Mailing-List; A contributing effort to Michael Liu's Classic Nikon SLRs and Nikkor optic site.

Credit: MCLau®, who has helped to rewrite some of the content appeared this site. Chuck Hester® who has been helping me all along with the development of all these Nikon websites; Lars Holst Hansen, 'Hawkeye' who shares the same passion I have; Ms Rissa, Sales manager from Nikon Corporation Malaysia for granting permission to use some of the official content; Ted Wengelaar, Holland who has helped to provide many useful input relating to older Nikkor lenses; Some of the references on production serial numbers used in this site were extracted from Roland Vink's website; Hiura Shinsaku from Nikomat Club Japan. Lastly, to all the good people who has contributed their own expeience, resources or kind enough granted permission to use their images of their respective optic in this site. It is also a site to remember a long lost friend on the Net. Note:certain content and images appeared in this site were either scanned from official marketing leaflets & brochures published by Nikon and/or contribution from surfers who claimed originality of their work for educational purposes. The creator of the site will not be responsible for may discrepancies arise from such dispute except rectifying them after verification. "Nikon", "Nikkormat", "Nippon Kokagu KK" & "Nikkor" are registered tradename of Nikon Corporation Inc., Japan. Site made with an Apple IMac.