Modern Classic SLRs Series :
Additional Information on Nikon SB600 AF-TTL Speedlight - Index Page

 
File size: 52k HTML Loading.....

Nikon Speedlight SB-600

The Speedlight solution built to complement D-SLR photography

Nikon Corporation announced the introduction of the Speedlight SB-600 in 2004. It is a compact flash packed with impressive functionality inherited from the renowned SB-800, it serves as a solid base for the Nikon Creative Lighting System when used in combination with Nikon digital SLRs. When used in combination with Nikon’s latest digital SLRs, the D2X, D2H and D70, the SB-600 supports Advanced Wireless Lighting as a remote Speedlight that can be positioned as one of multiple remote flashes to significantly extend creative possibilities.

SB600side.jpg
To assist in such situations, the Speedlight SB-600 also has a readylight located beside the LCD on the rear panel that can be easily seen from a distance. The SB-600 can also emit an audible alert for further assistance. Auto FP High-Speed Sync enables the use of Fill-Flash even in bright daylight with wide aperture settings for the achievement of outstanding results and new creative possibilities, including the effective blurring of out-of-focus background elements.

An optional color filter set SJ-1 is also available, allowing imaginative shooting to be pushed even further. White balance is optimized through the use of flash color information obtained by the Speedlight. The SB-600 also features FV lock, which gives the user the convenience of being able to maintain the measured flash value while recomposing the shot to achieve the appropriate flash output for the subject. It also offers uncomplicated operation made simpler by an easy-to-view LCD with only six buttons, each of which is backlit and simple to understand. The Nikon Speedlight SB-600 also has plenty of style, both with compact dimensions and a triangular motif consistent with the Nikon D-SLR theme. The Nikon Speedlight SB-600 comes complete with a Speedlight stand and a soft case, while two TTL Remote Cords, SC-29 and SC-28, and the Color Filter Set (SJ-1) are available as options.

Versatile Remote Speedlight for the Creative Lighting System Available Options with D2X/H Pro Digital SLR and D70 Digital SLR: i-TTL Mode, Advanced Wireless Lighting, FV Lock, Flash Color Information and Wide Area AF illuminator i-TTL Flash control : Accurate, seamless Fill-Flash capability under the most difficult, tricky lighting situations FV Lock (Flash Value Lock) allows photographers to change the composition or zoom for the shot while maintaining desired lighting of the subject Auto FP High Speed Sync Mode when used with D2X/H Pro Digital SLR delivers needed fill flash in bright light or with wide aperture Nikkor lenses.

NikonSB600chart.gif (25k) Gif Loading slowly now ....
Nikon SB-600 Flash / speedlight compatibility chart with various Nikon cameras.

Source: Nikon Europe

Technical Highlights of Nikon Speedlight SB-600: -

* Supports the Nikon Creative Lighting System ("CLS")*
*
Supports i-TTL (for automatic balanced Fill-Flash), D-TTL, TTL, Manual
* Accurate i-TTL flash control achieved through flash exposure monitoring control
* Easy-to-view LCD with 6 simple-to-understand backlit buttons
* Guide Number of 30/98
[ISO100,m/ft], 42/138 [ISO200,m/ft] (at 35mm zoom).
*
Power zoom function automatically adjusts the zoom-head position to match the lens focal length (with the exception of some camera/lens combinations) Auto zoom of 24 to 85mm & automatically adjust/extendable to 14mm when built-in wide-flash adapter is used
*
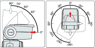
The flash head can be tilted from 0° to 90° and rotated horizontally 180° to the left and 90° to the right, enabling bounce flash or close-up flash photography..
*
Same Wide area AF Assist Illuminator as the popular SB-800
* Advanced Wireless Lighting
******* (available with D2X/H or D70 other applicable Nikon bodies in the future) when used as a wireless remote flash unit when the SB-600 is used with cameras compatible with Nikon’s Creative Lighting System.
* Auto FP High-Speed Sync
****** (with D2X/H only); use with fast shutter speeds achieves effective blurring of out-of-focus background elements. The built-in wide-flash adapter to create soft, diffused lighting with virtually no shadows, while maintaining balanced lighting for the main subject and the background
* Flash Color Information
***** optimized white balance makes use of data from the Speedlight
* FV lock
**** holds flash value, enabling recomposition prior to shooting
* Design consistent with those of next-generation D-SLRs, with a triangular design element on the top
* Supports optional Color Filter Set (SJ-1)
*******
* Ready light
located beside the LCD on the back panel - highly visible even when used as a remote unit
*
Custom settings are provided to set values, or activate or cancel functions that are unnecessary to set each time.

flashstand.gif colourgelsj1.gif
Supplied accessories: Soft Case SS-600; Speedlight Stand AS-19
Essential accessory:
Color Filter Set (SJ-1) (see picture below)

sb600frontA.jpg sb600b.jpg
* Creative Lighting System The SB-600 features a new Nikon Speedlight system, called Creative Lighting System (CLS). This system offers additional flash shooting possibilities with digital cameras by taking advantage of a camera’s digital communication capabilities. CLS is available only when the SB-600 is used with compatible Nikon cameras. The SB-600 offers these major features:
** i-TTL mode This is a new TTL auto flash mode in the Creative Lighting System. Monitor Preflashes are fired at all times. The subject is correctly exposed by the light from the flash lighting and the exposure is less affected by the ambient light than in the conventional TTL mode.
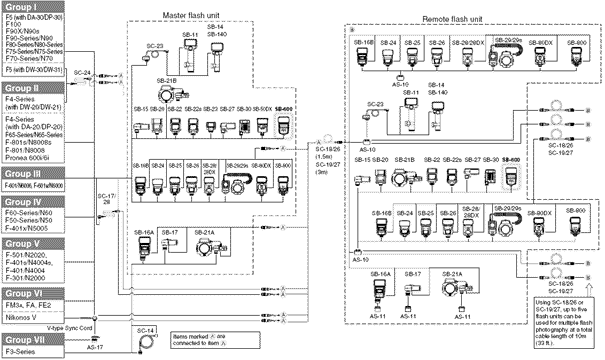
*** Advanced Wireless Lighting With Advanced Wireless Lighting, wireless multiple flash operation in the TTL (i-TTL) mode can now be accomplished with digital SLRs. In this mode, you can divide the remote flash units into three groups and control the flash output independently for each group, expanding your range of creative multiple-flash shooting techniques. The SB-600 can be used only as a wireless remote flash unit

Credit: Images courtesy of KEA-Photo, Hong Kong. KEA-Photo® has an online shop selling various photographic equipment at the popular Store at Ebay. Image copyright © 2004. All rights reserved. Please respect the visual property of the contributing photographer.
**** Flash Value Lock Flash Value (FV) is the amount of flash exposure needed for a subject. Using FV Lock with compatible cameras, you can lock in the appropriate flash exposure for the main subject. This flash exposure will remain fixed, even if you change the aperture or composition, or zoom the lens in or out.
***** Flash Color Information Communication When the SB-600 is used with compatible digital SLRs, color temperature information is automatically transmitted to the camera. In this way, the camera’s white balance is automatically adjusted to give you the correct color temperature when taking photographs with the SB-600.
****** Auto FP High-Speed Sync High-Speed flash synchronization at your camera’s highest shutter speed is now possible. This is useful when you want to use a wider aperture to achieve shallow depth of field to blur the background .
******* Wide-Area AF-Assist Illuminator In autofocus operation, the SB-600 emits AF-Assist illumination over a much wider area than existing Speedlights. This enables you to perform autofocus photography in dim light even after you change the focus area of cameras supporting this function.
******* Colored Gel Filter Set SJ-1: The color of light can be balanced or specific colors can be added to a scene by using a Speedlight with the optional Colored Gel Filter Set SJ-1. The optional Colored Gel Filter Set SJ-1 contains a total of 20 filters in 8 kinds of colored gels.

Using colored gel filters with digital cameras
colourgelreason.gif
FL-G1 (for fluorescent light). FL-G2 (for fluorescent light). TN-A1 (for incandescent / tungsten light). TN-A2 (for incandescent / tungsten light). BLUE. YELLOW. RED. AMBER Note: The colored gel filters will fade or deteriorate with time. When this happens, replace them with the backup gels provided in the set.

mapsb600front.gif

mapsb600Rear.gif

Main Reference Map Nomenclature

Nikon Speedlight SB-600

mapLCD.gif
LCD panel

* Compatible with CLS* (* CLS: Creative Lighting System The SB-600 is connected to cameras compatible with CLS*.
* Wireless remote flash In the wireless multiple flash mode, the SB-600 is set as a remote flash unit, which fires in sync with the master flash unit.
* Sound monitor When the SB-600 is set as a remote flash unit, you can monitor its operation by listening to the beeping sound.
*
Channel Represents the communication channel number through which the master and remote flash units exchange data in the Advanced Wireless Lighting mode.
* Group Represents the group of each remote flash unit in the Advanced Wireless Lighting mode.
* Control buttons being locked Control buttons (except the ON/OFF and FLASH buttons) are locked

Characteristics of the LCD panel * Due to the directional characteristics of LCDs, the display is difficult to read when viewed from above. However, the display can be seen clearly from a slightly lower angle. The LCD display becomes darker at high temperatures (approx. 60°C/140°F), but returns to normal at normal temperatures (20°C/68°F). The LCD’s response time decreases at low temperatures (approx. 5°C/41°F and below), but returns to normal at normal temperatures (20°C/68°F).

SB600sideShutterBlad.jpg

iconilluminator.gif
Using the SB-600 in dim light Press any button on the SB-600 to turn the illuminator on (when the SB-600 power is on), and it will remain lit for 16 seconds. To cancel the LCD panel illumination, go to the Custom Settings mode (p. 52) and set it to OFF. Even if the LCD panel illuminator is set to OFF, the SB-600’s LCD panel illuminator turns on when the camera’s LCD panel illuminator is turned on. The LCD panel illuminator also lights up when the Custom Settings mode is displayed.

Credit: Image courtesy of Laura Kornylak ® <shutterblade@comcast.net> from shutterblade*com where the Company has a website on its own. Image copyright © 2003. All rights reserved. Please respect the visual property of the contributing photographer.

Compatible Lenses Nikkor lenses are divided into two types: CPU Nikkor lenses and non-CPU Nikkor lenses:
lensCPU.gif lensG.gif lensD.gif  
CPU Nikkor lenses G-type Nikkor‚ D-type Nikkor‚ Non-G/D-type AF Nikkor (except for AF Nikkor for the F3AF)‚ AI-P Nikkor Non-CPU Nikkor lenses AI-S Nikkor, AI Nikkor‚ Series E

CPU lenses CPU lenses have CPU contacts. G-type Nikkor lenses G-type Nikkor lenses send distance information to the camera body, but do not have an aperture ring. Therefore, set the aperture on the camera body. With some cameras, the usable exposure mode is limited. D-type Nikkor lenses D-type Nikkor lenses send distance information to the camera body. Set the aperture either on the lens aperture ring or on the camera body.

Two-button control function Press two buttons simultaneously to perform the following operations. Follow the procedures shown on the flash unit.

iconMODEsml.gif + iconZOOM.gif Recalling the underexposure value in the TTL auto flash mode
Press the zoom and Mode buttons simultaneously to recall the underexposure value.
iconMODEsml.gif
+ iconpower.gif Resetting the settings to default values
Press the iconMODEsml.gif
and iconpower.gif buttons simultaneously for approx. 2 seconds to reset all settings, including the custom settings, to their default settings.
iconMODEsml.gif
+ iconminusymbol.gif Button lock
Press the iconminusymbol.gif and
MODE buttons simultaneously for approx. 1 second to lock the functions of the control buttons (except the iconpower.gif and FLASH buttons) to avoid accidental malfunction. Press the buttons again to release the lock.
iconMODEsml.gif
+ iconZOOM.gif Switching to Custom Settings
Press the iconminusymbol.gif and zoom buttons simultaneously for approx. 2 seconds to enter the Custom Settings mode
.

Quick & Easy Setup for TTL auto flash mode

Press the iconMODEsml.gif and iconpower.gif buttons simultaneously for approx. 2 seconds to reset all settings, including the custom settings, to their default settings.

backpanel.jpg

setupA.gif

While the SB-600 is used with cameras compatible with CLS, digital SLRs not compatible with CLS and cameras in Groups I to II in combination with a CPU lens, the optimum TTL auto flash mode available with that combination will be performed when you set the camera’s exposure mode to Programmed Auto (P), and turn on the SB-600 to execute “Resetting the settings to default values.”

Camera groups and available flash modes: Important: The SB-600’s available flash modes vary, depending on the cameras and lenses in use or the camera’s exposure mode and metering system.

tableAsb600.jpg

tableBsb600.gif


*1 iconBL.gif: Balanced Fill-Flash. This always appears together with iconTTL.gif *2 Wireless multiple flash in the i-TTL mode is possible. (Works as a remote flash unit only.) *3 While performing Balanced Fill-Flash, no iconBL.gif indicator appears.

'Technical Specifications for Nikon SB600 AF-TTL Speedlight:-

Electronic construction: Automatic Insulated Gate Bipolar Transistor (IGBT) and series circuitry
Guide number (at 35mm zoom-head position) 30/98 (ISO 100,m/ft), 42/138 (ISO 200,m/ft)

tableGN.gif
<<< --- Table at LEFT:
Guide number (m/ft.) in the 1/300 TTL High-Speed Flash
sync mode
*With the wide-flash adapter in place

Flash Exposure Control: i-TTL, D-TTL, TTL (film based), Balanced Fill-Flash, Manual (see table below)

tableC.gif

Number of flashes Alkaline approx. 200 times

Multiple flash operation
tableD.gif

Other available functions Test firing, Monitor Preflashes and AF-assist illuminator
Flash Exposure Control set on the camera Section: Slow-sync, Red-Eye reduction, Red-Eye reduction in slow-sync, Rear-curtain sync flash, Auto FP High-Speed sync, FV Lock flash

tableE.gif
Flash coverage Auto 24-85mm extendable to 14mm with built-in wide-flash adapter, Manual
Flash shooting distance range (in TTL auto flash mode): 0.6m to 20m (2 to 65.6 ft.) (varies depending on the ISO sensitivity, zoom-head position and lens aperture in use)

angle.gif
Bounce capability: Flash head tilts from 0° to 90° with click-stops at 0°, 45°, 60°, 75°, 90°; flash head rotates horizontally 180° to the left or 90° to the right with click-stops at 0°, 30°, 60°, 90°, 120°, 150°, 180°
Flash output level compensation: - -3.0 to +3.0 EV in increments of 1/3 steps in the TTL auto flash mode.
Power SW OFF/STBY ON Press the iconpower.gif button for approx. 0.3 sec. to turn the SB-600 on or off. Standby function can be set.
Recycling time Alkaline approx. 3.5 sec.

Creative lighting system A variety of flash operations are available with cameras compatible with CLS: i-TTL mode, Advanced Wireless Lighting, FV Lock flash, Flash color information communication, Auto FP High-Speed sync, and Wide-area AF-Assist Illuminator
Display LCD: segment type
Ready Light: -
Lights up when the SB-600 is recycled and ready to fire. Blinks for 3 sec. when flash fires at its maximum output, indicating light may have been insufficient (in TTL auto flash mode)
LCD back light LED type
Flash duration (approx.):- 1/900 sec. at M1/1 (full) output; 1/1600 sec. at M1/2 output; 1/3400 sec. at M1/4 output; 1/6600 sec. at M1/8 output; 1/11100 sec. at M1/16 output; 1/20000 sec. at M1/32 output; 1/25000 sec. at M1/64 output
Built-in wide flash adapter: Allows SB-600 to be used with a 14 mm lens.
Shoe-lock (
Mounting foot lock lever): -One action lock. Provides secure attachment of SB-600 to camera’s accessory shoe using locking plate and mount pin to prevent accidental detachment.
Custom Settings
: -The following Custom Settings are possible: Wireless remote flash, Auxiliary ready-light, Sound monitor in the wireless remote flash mode, Standby function, Power zoom function, Zoom-head position setting if the built-in wide flash adapter is broken off accidentally, LCD panel illuminator, and AF-assist illuminator.

Power source / min. recycling time/no. of flashes (at M1/1 output):-
tableF.gif
Battery:- Four AA-type penlight batteries (1.5 V or lower) of any of these types: Alkaline-manganese (1.5 V), Lithium (1.5 V), Nickel (1.5 V), NiCd (rechargeable, 1.2 V), or Ni-MH (rechargeable, 1.2 V) * With fresh batteries.** M1/1 output without use of AF-assist illuminator, zoom operation, and LCD panel illuminator.

AS19stand.jpg
Other functions: Recalling the underexposure value in the TTL auto flash mode, Resetting the settings, Button Lock

Dimensions (W x H x D): -Approx. 68 x 123.5 x 90mm (2.7 x 4.9 x 3.5 in.)
Weight (w/o battery) Approx. 300g (9.6 oz)

Included accessories:
Speedlight Stand AS-19 (picture at left hand side) and Soft Case SS-600
Optional accessories:
Color Filter Set (SJ-1);

TTL Remote Cord SC-29/28/17 (approx. 1.5m or 4.9 ft), TTL Remote Cord SC-24 (approx. 1.5m or 4.9 ft) TTL Remote Cords SC-29/SC-28/SC-17/SC-24 provide TTL auto flash operation when the SB-600 is used off-camera. Their flash shoes come with one tripod socket and two TTL multiple flash terminals. The TTL Remote Cord SC-24 is for use with F5 cameras mounted with a High-Magnification Finder DW-30 or DW-31, or F4 cameras having a High-Magnification Finder DW-20 or DW-21. The SC-29 features an AF-assist illuminator function. (The SC-29 is not equipped with a TTL multiple flash terminal.)
TTL Multi-Flash Sync Cord SC-26/18 (approx. 1.5 m or 4.9 ft)
TTL Multi-Flash Sync Cord SC-27/19 (approx. 3 m or 9.8 ft) Multi-Flash Sync Cords SC-18/SC-19/SC-26/SC-27 are useful for connecting the SB-600 to the multiple flash terminal of the SC-28, SC-17 or AS-10 for TTL multiple flash operation.
TTL Multi-Flash Adapter AS-10 Use the Multi-Flash Adapter AS-10 when connecting more than three flash units together for TTL multiple flash operation, or if the remote flash units are not equipped with multiple flash terminals. The AS-10 comes with one tripod socket and three TTL multiple flash terminals.
TTL Flash Unit Coupler AS-17 for F3-Series cameras Dedicated adapter for F3-Series cameras providing TTL flash operation with Nikon Speedlights such as the SB-600 featuring an ISO-type mounting foot (not designed for the F3).
Bracket SK-7 A metal plate with attachment screws allowing the camera and Speedlight to be positioned side by side. Use the optional TTL Multi-Flash Adapter AS-10 to attach the SB-600 to Bracket SK-7.
Multi-Flash Bracket Unit SK-E900 (One AS-E900 Multi-Flash Adapter is included with the SK-E900)
Multi-Flash Adapter AS-E900 The SB-600 can be used as a multiple flash unit with Nikon COOLPIX 900-series digital cameras by attaching the COOLPIX to Multi-Flash Bracket Unit SK-E900 and connecting the SB-600 to the multi-flash terminal of the COOLPIX using the Multi-Flash Adapter AS-E900

tableG.gif
TTL auto flash modes available with the SB-600 The available types of TTL auto flash vary, depending on the camera/lens/ exposure mode/metering system in use. The following tables show the SB-600’s TTL mode indicators and the corresponding ones used in the current Speedlight manuals when the flash unit is used with various cameras not compatible with Nikon's Creative Lighting System "CLS".

Cameras compatible with the TTL/D-TTL auto flash mode:-
Download a file on other Camera/lense/Exposure/Metering combinations
Table A (48k Gif) | Table B (52k Gif)
tableHcBIG.gif

tableHbSML.giftableHaSML.gif

 

syschartsb600SML.gif
System chart for TTL multiple flash shooting using Sync Cords/Cables: -

Speedlights SB-11, SB-14, SB-140, and SB-21B cannot be used with the F-401/N4004 or F-401s/N4004s as either master or remote flash units.

Download Image File (LARGE) 60k Gif

coversb600.gif
Update: Construction of this Instruction Manual Section was suspended midway through because a caring gentleman has given me a link to the Instruction Manual in a PDF format for this Nikon flash. So, this has saved me the trouble of converting one for all of you (believe me, it is tedious process...). However, I am only listed things that are critically of importance in the handling of this SB-600 Speedlight so anyone of you can set up the flash as fast as you can for your assignment. My personal advice: You SHOULD download a copy of the User's Manual in PDF format for safekeeping for future reference WHILE it is still available there online.

| previous | NEXT | High performance, film-based / digital-ready Nikon AF-TTL Speedlight SB800 model (current 2005)

| Back | Index Page The Nikon F5 Flash Photography


Credit: Image courtesy of Laura Kornylak ® <shutterblade@comcast.net> from shutterblade*com where the Company has a website on its own. Image copyright © 2003. All rights reserved. Please respect the visual property of the contributing photographer.

Relative:
Nikon AF-TTL Speedlight Models:
Nikon SB-800 | Nikon SB-600 | Nikon SB-30 | Nikon SB-29(s) (2000) | Nikon SB-28 (1997) | Nikon SB-27 (1997) | Nikon SB-26 (1994) | Nikon SB-25 (1992) | Nikon SB-24 (1988) | SB-23 | SB-22 (1987) | SB-20 (1986)
Nikon AF-TTL Speedlight DX-Series:
Nikon SB-28DX (1999)| SB-50DX (2001) | SB-80DX (2002)
Additional information on various
Nikon MF Bulb Flash - Nikon MF-Speedlights SB-1 ~ SB-21A/B

| Back | Main Index Page - Nikon F5 Professional SLR camera

The Camera - Background, Issues & Summary

Basic Features | Focusing | Metering Systems | Exposure Control | Reliability Issues | Nikkor lens Compatibility

Prisms
/Finders -
Index page - 2 parts
Film Backs:
Index Page - 1 parts
Focusing Screens -
Index Page - 1 part
Flash System -
Index Page - 3 parts
System Accessories: |
Power Sources | Cases | Remote Control | Miscellaneous

Macro Photography - Related info on Micro-Nikkor lenses

Technical
Specification for Nikon F5
Main Reference Map / Nomenclature

Resource Centre
: Instruction Manuals
Nikon F5 Camera Body - 18 parts
MF-28 Multi-Function Back HTML - 8 parts
PC Links - Photo Secretary - 2 parts
AF-TTL Speedlights: SB-28 / SB28DX | SB29(s) info | SB30 | SB50DX | SB80DX | SB600 info | SB800

Variants:
F5 50th Anniversary Model | Nikon/Kodak DCS-620 | DCS-720 Digital Still SLR camera

The Eyes of Nikon:
| MF Nikkor Resources | AF Nikkor Resources |

| Back | Index Page of Digital Nikon SLR cameras
| Back | Main Index Page of Pictorial History of Nikon SLR cameras

lineF5.gif

weblibrary.gif   Nikon F | Nikon F2 | Nikon F3 | Nikon F4 | Nikon F5 | Nikon F6 | Nikkormat / Nikomat | Nikon FM | Nikon FE/ FA | Nikon EM/FG/FG20 | Nikon Digital SLRs | Nikon - Other models

The Eyes of Nikon:-

Nikon Auto Focus Nikkor lenses:- Main Index Page
Nikon Manual Focus Nikkor lenses:- Fisheye-Nikkor Lenses - Circular | Full Frame | Ultrawides Lenses - 13mm15mm18mm20mm | Wideangle Lenses - 24mm28mm35mm | Standard Lenses - 45mm 50mm 58mm | Telephoto Lenses - 85mm105mm135mm180mm & 200mm | Super-Telephoto Lenses - 300mm 400mm 500mm 600mm 800mm 1200mm |

Nikkor Link.jpg

Index Page
  Special Application lenses:
Micro-Nikkor Lenses - 50mm~55mm -60mm 85mm -105mm 200mm Micro-Zoom 70-180mm
Perspective Control (PC) - 28mm 35mm PC-Micro 85mm
Dedicated Lenses for Nikon F3AF: AF 80mm f/2.8 | AF 200mm f/3.5 EDIF
Depth of Field Control (DC): 105mm 135mm
Medical Nikkor: 120mm 200mm
Reflex-Nikkor Lenses - 500mm 1000mm 2000mm
Others: Noct Nikkor | OP-Nikkor | UV Nikkor 55mm 105mm | Focusing Units | Bellows-Nikkor 105mm 135mm
Nikon Series E Lenses: 28mm35mm50mm100mm135mm | E-Series Zoom lenses: 36~72mm75~150mm70~210mm


MF Zoom-Nikkor Lenses: 25~50mm | 28~45mm | 28~50mm | 28~85mm | 35~70mm | 36~72mm E | 35~85mm | 35~105mm | 35~135mm | 35~200mm | 43~86mm | 50~135mm | 50~300mm | 70~210mm E | 75~150mm E | 80~200mm | 85~250mm | 100~300mm | 180~600mm | 200~400mm | 200~600mm | 360~1200mm | 1200~1700mm

Tele-Converters: TC-1 | TC-2 | TC-200 | TC-201 | TC-300 | TC-301 | TC-14 | TC-14A | TC-14B | TC-14C | TC-14E | TC-16 | TC-16A | TC-20E

Recommended links to understand more technical details related to the Nikkor F-mount and production Serial Number:
http://rick_oleson.tripod.com/index-153.html by: my friend, Rick Oleson
http://www.zi.ku.dk/personal/lhhansen/photo/fmount.htm by: Hansen, Lars Holst
http://www.mir.com.my/rb/photography/hardwares/nikonfmount/lens2.htm
http://www.photosynthesis.co.nz/nikon/serialno.html

Howkiat 3D F5 logo.gif
| Message Board | for Nikon F5 Series SLR model(s) |

|
Message Board | for your Nikon Optics in a shared environment
| Message Board | Specifically for Dispose or Looking for Nikon/Nikkor Photographic Equipment

W A R N I N G: The new G-SERIES Nikkor lenses have removed the conventional aperture ring on the lense barrel, they CANNOT adjust aperture(s) when operating in manual exposure control even with certain earlier MF/AF Nikon SLR camera models. But they are FULLY COMPATIBLE with the Nikon F5 featured here in all usable metering systems and/or exposure modes. Please refer to your local distributor for compatibility issue(s).

About this photographic site.

MIR Logo
HOME - Photography in Malaysia
Search.gif

leofoo.gif

A resource dedicated to my kids, Alvin Foo & Esther Foo- one day, BOTH might need to use all these information for his/her Nikon F5A camera.

Volunteered Maintainer(s) for the Nikon F5 Message Board: Tony Davies-Patrick, UK; Rick Oleson, US; Koh Kho King, Malaysia.

Credit: Mr. Chuck Hester, US for his text re-editing skill for this site; Our staff, HowKiat® who created the 3D-Nikon F5 logo. Mr. Lew Chee Wai of YL camera for lending his F5 for me to take some shots appeared in this site. All those nice folks who have contributed their images, in particular Mr. Mike Long, Edwin leong, Palmi Einarsson, Sergio Pessolano, Fred Kamphues, Harry Eggens, Curtis Forrester, Nick (Natures Moments), Sandra Bartocha; fellow countrymen, Vincent Thian, Koh Kho King, Philip Chong, CY Leow etc. and contributions from a few nice folks from Photo Malaysia Forum. Disclaimers & acknowledgments: Certain content and images appeared in this site were either scanned from official marketing leaflets, brochures published by Nikon and/or contribution from surfers who claimed originality of their own work for public publishing in this website, where majority of the extracted information are used basing on educational merits. The creator of this site will not be responsible for any discrepancies that may arise from any possible dispute except rectifying them after verification from respective source. Neither Nikon or its associates has granted any permission(s) in using their public information nor has any interest in the creation of this site. "Nikon", "Nikkormat", "Nippon Kokagu KK" "Silent Wave", "Focus Tracking Lock-on", "Nikkor" & other applicable technical/business terms are registered trade name(s) of Nikon Corporation Inc., Japan. Site made with an Apple G5 IMac.

.
headerbar.jpg