Modern Classic SLRs Series :
Nikon FA - Part VI - TTL Flash Metering System

 

File Size: HTML Page (33k) Loading ...

Nikon first introduced TTL Flash metering on Nikon F3 in 1980. Subsequent models in the FG, FE-2 and FA - all had it as standard feature. The F3 was using a propriatry flash shoe that was not a ISO standard hot shoe type. Thus, to use a hot shoe type of flash on the F3, you would need a flash coupler such as AS-4 or the more versatile AS-7. Visa versa. If you intend to use the Nikon F3's dedicated flash units, such as the SB-12 onto your FA, you would need a flash coupler.

FA SB16.jpg (14k)
Prior to the arrival of such flash units like the SB-15 or the more powerful SB-16B, dedicated automatic flash units weren't many - more commonly are the SB-10 and the compact SB-9. While the handle mount are two very powerful flash units such as SB-11 or the SB-14 (Both offer TTL feature with Nikon F3 by means of a TTL cord SC-12 - similar to earlier Auto flash in handle mount - SB-5, without TTL function). The SB-15 looks more like an upgrade version of the SB-10 with a host of useful features - it is a dedicated compact flash for all these Nikon bodies while the SB-16B Speedlight Unit even offering more options and came with a powerful guide number of 32. Don't worry, if you have any Nikon dedicated autofocus flash unit, it should work in the TTL mode, ready light, automatic and manual flash mode with the FA - of cause, you won't able to enjoy the benefit of autofocus function because the FA is not an autofocus camera.



LINK to OTHER NIKON FLASH MODELS are provided at the bottom section.

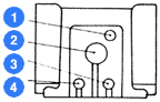
Quick referrence for the TTL in FA:

There are four contacts rest a top the hot shoe or sometimes called the accessory shoe, what are their respective function and how the viewfinder reacts when a dedicated flash is used ?

HotShoe Illus.gif
1. Monitor contact
2. Sync contact
3. TTL flash auto-stop Signal contact
4. Ready Light contact

Flash Syncronization: monitor contact sets the analog circuit to the TTL mode and identifies that the camera can be used on TTL mode.

Nikon FA sync with electronic flash at 1/250 sec or slower. On P, S and A modes (With the SB-15, SB16 or any dedicated Nikon flash): Flash sync automatically set at 1/250 sec, the LCD will shows''. On M mode (With the SB-15, SB16 or any dedicated Nikon flash, including the AF flash units): When shutter dial is set between 1/500 sec and 1/4000 sec, flash sync automatically set to 1/250 sec and LCD will shoew 'M250'. At 1- 1/250 sec. settings, shutter speed is as set by photographer. Ready light will light up after flash output is charged on both P, S, A and M modes (An IC sets the "M-Time" signal to 250 (except at slower manual settings), as the flash charges, current into the rightside contact increases and the LED in the viewfinder lights to indicate the flash is charged).


There is a X-Sync Switch which located on the shutter and connects to the shoe contact and PC socket through a wire. The switch shorts the wire to ground as the opening curtain reaches the brake, then disconnects as the closing curtain moves into the aperture. The Sync-Switch operates at all speeds up to 1/250. When an SB-15, SB-16B or similarly dedicated strobe is attached to the shoe there are three contacts made. First, when current into the left-side contact reaches to trigger contacts and pins and causing the CPU changes to flash mode. The LCD indicates "250" except in manual mode where speeds slower than 1/250 are still displayed. A diode protects against noise and voltage overload.(Early production units has noise problem and has been rectified).

In TTL control mode, the two right-side contacts are used. The one near the front is designated monitor and connects to other circuits. Its open voltage is slightly above 1.5v with power on and a dedicated flash will cause that to drop to near l.lv. This current flow tells IC-1 to set TTL operation through the other right-side contact. That contact, which is a 'nand gate' output, is normally open and switches to ground to end flash output. The shutter release signal which supplies bias to the photodiode in the mirror box. This photodiode sees light reflected from the film plane and connects to other pins and ICs. Light from the flash reflects from the subject to the film and onto the photodiode. When proper exposure is reached, the nand gate switches low and output is ended
(firing of the speedlight stops). During normal TTL operation the LED will blink if ISO is out of range or exposure was not sufficient.

The Nikon FA has three metering sensors. Two are at each side of the eyepiece to handle ambience meter reading for either the AMP or ceter-weighted metering. The last one was at the base of the mirror box, facing backward to the shutter - dedicated for TTL Flash metering. (Nikon F3's method by incorporating a single SPD cell to handle both ambience and TTL flash meter reading). So, when you are using either the SB-15, SB-16B or ANY of the Nikon dedicated AF flash units with the FA (Yes, TTL and ready light feature will retained, except the autofocus mode - you may have to shift the control to TTL auto mode manually), complete with TTL (through-the-lens) flash metering, there are a couple of considerate, safety features incorporated to help the photographer make less mistakes. FE-2's TTL flash is virtually the same as the FA, click here.

SPD sensor.jpg (7k)
Using the same principle as the FE-2, the TTL flash in the FA has the third SPD sensor at the base of the mirror box, facing the shutter curtain to meter light reflected back from the film plane for OTF (Off the film plane) flash metering. Illustration used here is from the FE-2. The Nikon F3's single SPD cell (Forget to put a tag, please scroll down to the bottom of that page to view) handles both ambience and TTL looks very much bigger and errr... better 'quality', ha!

Auto synchronizes at 1/250 sec. flash sync speed if you have set any shutter speeds beyond 1/250 sec is one. Since you are in TTL mode, you may get properly exposed pictures even if the aperture position is inadvertently moved as the shutter is being released. That's because FA's sensor reads the light directly reflected off the film plane being exposed, and its microcomputer processes and executes and regulates flash output control of any of the dedicated flash units (SB-15 or SB-16B were mentioned repeatedly because they are the dedicated flash units during that time).

The peak sync speed in the FA is 1/250 sec. There are some advantages here. Firstly: It allows a creative photographer to use the selective focusing technique even in broad daylight (synchro-sunlight photography) or to freeze moving subjects in their tracks. With a much wider range of lens apertures at your disposal, and broader range of film speed to use in daylight. Most of the dedicated flash units has a LED warning to tell if battery power is fully charged; the LED blinks to recommend that you move closer to your subject or use a wider aperture to avoid possible under-exposure. A lot of the TTL features were being discussed and explained in the FE-2 site. Since the FA shares the almost the same shutter mechanism as with the FE-2, you may referred to that section for more info.

With the exception of the extra auto exposure modes available in the FA which is the main difference. In the P, S and A modes,""will automatically appear; this will also be the case in the Manual mode if the shutter speed is set anywhere from 1/4000 sec. to 1/500 sec. When the shutter speed set is 1/250 sec. or /ower in the Manual mode, the shutter speed in use will be displayed. The LED ready-light lights up when the flash unit is fully recycled. The ready-light blinks to waft of insufficient flash output or incorrect setting of the film speed and/or shutter speed.

If you are careful to notice the differences, these two digital LCD displays present the FA's initial first few frames prior to Frame number one. A clue is here...

 Forgotten what were those ? Knock your head... Go
back to the table.

The Nikon FA has three modes in the TTL OTF auto flash, Automatic flash mode or the Manual flash mode. The automatic flash mode is using the flash unit's sensor to determine the exposure, while the manual mode refers to user set and calculate 'everything' mode. In flash photography with the FA, it is a waste of resources not to utilize the TTL mode in the FA. The camera offers synchronization, viewfinder ready-light, auto-setting of the shutter sync speed, TTL flash metering, and automatic flash output stop.

Dedicated flash means it has a Nikon specified hotshoe contacts atop of the camera's viewfinder prism, they match the contact points on Nikon TTL flash shoes. Each contact has its specific function. The PC terminal which lays in front of the body (Cover with a protective cap) just creates contact between camera and flash. The flash functions properly via its PC cord only when it is set in either Automatic or Manual mode, it is also an X-terminal for some older types of flash bulbs (It synchronizes with M, FP flash bulbs at shutter speeds of 1/30 second or below('B' setting included). However, flash bulbs will not sync at any faster speed, M250 included. In this case, TTL functions will not be available with the PC terminal as the primary contact for flash photography.

In 1984, in a Nikon circular Nikon acknowledges a small number of early production FAs has interference of 'Noise of Speedlite may affect FA's exposure control' problems.  

In those cases, where Nikon claimed some camera bodies of the initial production stage have not been provided with a noise-proof cure and they may accidentally be affected by the electric noise of the particular speedlight units such as the SB-15 or SB-16 to cause an extreme underexposure. So if your FA's has consistently having such flash exposure error, you may send them in for 'noise proo '' cure. But chances can be very rare if your FA still exhibits such problem in the used market as the FA was a discontinued model since 1989. But since this page is soley relative to flash photography, a note is in order. Than in 1984/5, there were some changes again taken place at the Main FPC which has been changed to enhance reliability in the TTL mode. It has been reported that the main FPC is changed to enhance the reliability and efficiency of TTL flash output control. The main FPC is connected with the shoe contact pins of top cover by lead wires, and the NEW main FPC should be used in combination with this new top cover for the improvement of TTL ASA. However, the former main FPC also can be used with the new top cover.

Further, the New FPC involves some changes in the MD plate. The MD connector pins that are soldered to connect the main FPC with MD base plate have been discontinued, and the new main FPC is directly connected with the MD base plate. Thus, the terminal pins of motor drive should be replaced with longer ones if the contact between camera body and motor drive is not sufficient. Further, It has been reported that insufficient contact of the contact blade of Shoe contact with the shoe contact pin of top cover causes the faulty operation of speedlight when it is used with the camera body. For the purpose of preventing this trouble, lead wires have been used to connect the shoe contact pin of top cover with the main FPC, and the contact blade of Shoe contact has been discontinued. If these were found in your FA, it means your camera could be sometime after 1984. But for most of you, these are changes internally or Nikon will change for you once your camera was brought back for servicing and unlikely you will notice any differences.

Quick reference guide on Speedlight SB-15's Specifications



Light output control: Silicon thyristor-controller rectifier and series circuitry TTL automatic flash output control with Nikon FA, Nikon FE-2, Nikon FG or any AF bodies, except retaining the AF function when work with those bodies.
Guide number:
25 (ASA/ISO 100 and meters) at full output, 7 in MD (motor-drive) mode
Recycilng time:
Approx. 8 sec. with alkaline-manganese batteries at full output
No. of flashes:
Approx. 160 with alkaline-manganese batteries at full output
Angle of flash coverage:
Covers picture angles of 35mm, 28mm (with SW-6) lenses
Power source: Four 1.5VAA-type penlight batteries
Dimensions:
Approx. 101mm(W) x4 2.5mm(H) x 90mm(D) (excluding mounting foot)
Weight: Approx. 270g (excluding batteries)

Quick reference guide on Speedlight SB-16B's Specifications

Light output control: Silicon thyristor-controller rectifier and series circuitry; TTL automatic flash output control with Nikon FA, Nikon FE2, Nikon FG or even any AF bodies (AF function is not possible) when work with those bodies.
Guide number:
32 (ASA/ISO 100 and meters) at full output; 8 in MD (motor-drive) mode
Recycilng time: Approx. 11 sec. with alkaline-manganese batteries at full output
No. of flashes:
Approx. 100 with alkaline-manganese batteries at full output
Angle of flash coverage:
Covers picture angles of 85mm, 50mm, 35mm, 28mm, 24mm (with SW-7) lenses by zooming main flash head
Power source: Four 1.5VAA-type penlight batteries
Dimensions:
Approx. Approx. 82mm(W) x 144mm(H) x 100mm(D)
Weight: Approx. 470g (excluding batteries)

Note: SB-16A is actually a SB-16B with Nikon F3's mounting foot; while the SB-17 is the Nikon F3's dedicated version of the SB-15. Spec sheets for both versions are the identical.
For combination with other Nikon made flash units with the Nikon FA,
check here for a few.

| Back | Next | Check here for more info on flash photography

| Back | to Main Index Page of Nikon FA

Other Technical Issues: Part I | Part II

The AI-S Nikkors (related info | TTL OTF Flash Metering | Interchangeable Focusing Screens. The MD-15/MD12/MD11 Motor Drives | 3rd party Power Winder (new) | Flash Units -SB-16 | SB-15 | SB-10 | SB-16B & Other Options | Databacks | Titanium Shutter | Variation : Mr Y K Wong from Singapore contributing 11 images of his Nikon FA GOLD

| Nikon FM series | Nikon FE series | Nikon FA |


W A R N I N G: The New G-SERIES Nikkor lenses have no aperture ring on the lens, they CANNOT ADJUST APERTURES with any of these manual focus Nikon FE series SLR camera models; please ignore some portion of the content contained herein this site where it relates.

| Message Board | for your favourite Nikon FA camera
| Message Board | for your Nikon Optics in a shared environment
| Message Board | Specifically for Dispose or Looking for Nikon / Nikkor Photographic Equipment

Shared Resources: MD-11 | MD-12 | 3rd Party Power Winder Only for FM2(n)/FE2/FA | Focusing Screens | Titanium Shutter | Flash Units - | SB-15 | SB-10 | SB-16B & Other Options | Databack | Nikkor lens mount (related info)

Others:- Nikon AF-TTL Speedlights | SB-20 (1986) | SB-22 (1987) | SB-23 | SB-24 (1988) | SB-25 (1991/2) | SB-26 (1994) | SB-27(1997) | SB-28 (1997) | Nikon SB-29(s) (2000) | Nikon SB-30 (2003) | Nikon SB-600 (2004) | Nikon SB-800 (2003) Nikon AF-TTL Speedlight DX-Series: Nikon SB-28DX (1999) | SB-50DX (2001) | SB-80DX (2002)

Nikon BC-flash Series | Original Nikon Speedlight
SB-2 | SB-3 | SB-4 | SB-5 | SB-6 | SB-7E | SB-8E | SB-9 | SB-E | SB-10
SB-11
| SB-12 | SB-14 | SB-140 UV-IR| SB-15 | SB16A | SB-17 | SB-18, SB-19 | SB-21A (SB-29) Macro flash | Flash Accesories | SF-1 Pilot Lamp


weblibrary.gif   Nikon F | Nikon F2 | Nikon F3 | Nikon F4 | Nikon F5 | Nikon F6 | Nikkormat / Nikomat | Nikon FM | Nikon FE/ FA | Nikon EM/FG/FG20 | Nikon Digital SLRs | Nikon - Other models

Nikon Auto Focus Nikkor lenses:- Main Index Page
Nikon Manual Focus Nikkor lenses:- Fisheye-Nikkor Lenses - Circular | Full Frame | Ultrawides Lenses - 13mm15mm18mm20mm | Wideangle Lenses - 24mm28mm35mm | Standard Lenses - 45mm 50mm 58mm | Telephoto Lenses - 85mm105mm135mm180mm & 200mm | Super-Telephoto Lenses - 300mm 400mm 500mm 600mm 800mm 1200mm |

Nikkor Link.jpg

Index Page
  Special Application lenses:
Micro-Nikkor Lenses - 50mm~55mm -60mm 85mm -105mm 200mm Micro-Zoom 70-180mm
Perspective Control (PC) - 28mm 35mm PC-Micro 85mm
Dedicated Lenses for Nikon F3AF: AF 80mm f/2.8 | AF 200mm f/3.5 EDIF
Depth of Field Control (DC): 105mm 135mm
Medical Nikkor: 120mm 200mm
Reflex-Nikkor Lenses - 500mm 1000mm 2000mm
Others: Noct Nikkor | OP-Nikkor | UV Nikkor 55mm 105mm | Focusing Units | Bellows-Nikkor 105mm 135mm
Nikon Series E Lenses: 28mm35mm50mm100mm135mm | E-Series Zoom lenses: 36~72mm75~150mm70~210mm


MF Zoom-Nikkor Lenses: 25~50mm | 28~45mm | 28~50mm | 28~85mm | 35~70mm | 36~72mm E | 35~85mm | 35~105mm | 35~135mm | 35~200mm | 43~86mm | 50~135mm | 50~300mm | 70~210mm E | 75~150mm E | 80~200mm | 85~250mm | 100~300mm | 180~600mm | 200~400mm | 200~600mm | 360~1200mm | 1200~1700mm

Tele-Converters: TC-1 | TC-2 | TC-200 | TC-201 | TC-300 | TC-301 | TC-14 | TC-14A | TC-14B | TC-14C | TC-14E | TC-16 | TC-16A | TC-20E

Recommended links to understand more technical details related to the Nikkor F-mount and production Serial Number:
http://rick_oleson.tripod.com/index-153.html by: my friend, Rick Oleson
http://www.zi.ku.dk/personal/lhhansen/photo/fmount.htm by: Hansen, Lars Holst
http://www.mir.com.my/rb/photography/hardwares/nikonfmount/lens2.htm
http://www.photosynthesis.co.nz/nikon/serialno.html

| Back | Main Index Page of Nikkor Resources
| Back | Main Index Page of Pictorial History of Nikon SLRs

| Message Board | for your Nikkor optics ("shared" because I do wish some of you to expose to other's perspective as well. Isn't it a sad sate to see photography has to be segmented into different camps from the use of various labels)

about this photographic web site

MIR Logo.gif
Home - Photography in Malaysia

leofoo.Gif

A contributing effort to Michael C Liu's Classic Nikon Site.

Credit: Chuck Hester for some of his beautiful images used in this site; Ted Wengelaar®, Holland for his continuous flow of input; Lars Holst Hansen, Danish 'Hawkeye' who shares the same passion; Mr Poon from Poon photo for their input; Ms Miss Rissa (Sales Manager) & members of the Technical Service dept. of Shriro Malaysia, local distributor of Nikon cameras in Malaysia & Singapore, in providing so many useful input to make this site possible. Special thanks to Mr MC Lau, who has helped with his images of the MF-12 databack. Michael Tan, Pertama Photo (603-2926505) for lending his original Titanium Shutter Display Unit. Dave Hoyt who has prepared the introductory page and offer some images of his FE2 in this site.. Hiura Shinsaku, Nikomat ML, Japan for his contribution on all the various images; A contributing site to a long lost friend on the Net. Note: Certain content and images appeared in this site were either scanned from official marketing leaflets, brochures published by Nikon and/or contribution from surfers who claimed originality of their own work to publish in this site based on educational merits. The creator of this site will not be responsible for any discrepancies that may arise from such possible dispute except rectifying them after verification."Nikon", "Nikkormat", "Nippon Kokagu KK" & "Nikkor" are registered tradename of Nikon Corporation Inc., Japan. Made witha PowerMac.